0x00 简介
本文章来自 公众号:404安全
代码执行也是我们经常遇到的,通常是eval()、assert(),当然还有回调函数比如call_user_func() array_map(),正则函数,动态调用等等,因为程序对传入的参数过滤不严或者没有过滤,导致代码执行,看过我前面写的php的webshell总结的话,你就会发现很多知识是相辅相成的。
0x01 代码执行
这里说说eval的命令执行,assert在php7后面移除了。我们来看一个简单的eval代码执行
test.php
<?
$id = $_GET['x'];
eval($id);
?>
payload:
test.php?x=phpinfo();
简单到waf以为他是个webshell了,当然我们实际情况肯定遇不到这么简单的,可能需要多重组合利用,这里下面我以一个实例为例
0x02 实战审计
这里使用的是zzzphp V1.6.0的一个解析标签过程中引发的代码执行,网上也有其他人的审计思路,这里我是帮朋友复现的时候弄的。
找个的审计思路是全局搜索eval,当然你也可以搜索其他的能够引发代码执行的函数,但是这个这-1里没有。
路径:\inc\zzz_template.php

我们发现eval里面有变量,那么他是可能存在代码执行的

大概看了下parserIfLabel() 函数没有什么过滤,能够达到我们传入任意参数的目的,到了这里我们就是回溯那里调用了这个函数呗,全局搜索下parserIfLabel(),没搜索到,看了下是个类,所以搜索类名ParserTemplate。
![\[外链图片转存失败,源站可能有防盗链机制,建议将图片保存下来直接上传(img-VTMMnJQY-1585740849166)(./img/1.3.3.png)\]](https://img-blog.csdnimg.cn/20200401193815661.png?x-oss-process=image/watermark,type_ZmFuZ3poZW5naGVpdGk,shadow_10,text_aHR0cHM6Ly9ibG9nLmNzZG4ubmV0L20wXzQ2MzA0ODQw,size_16,color_FFFFFF,t_70#pic_center)
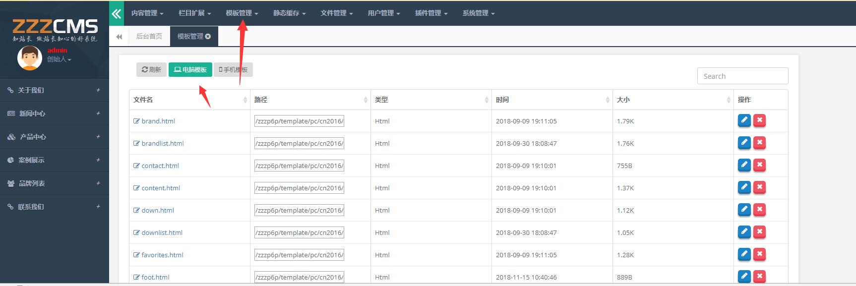
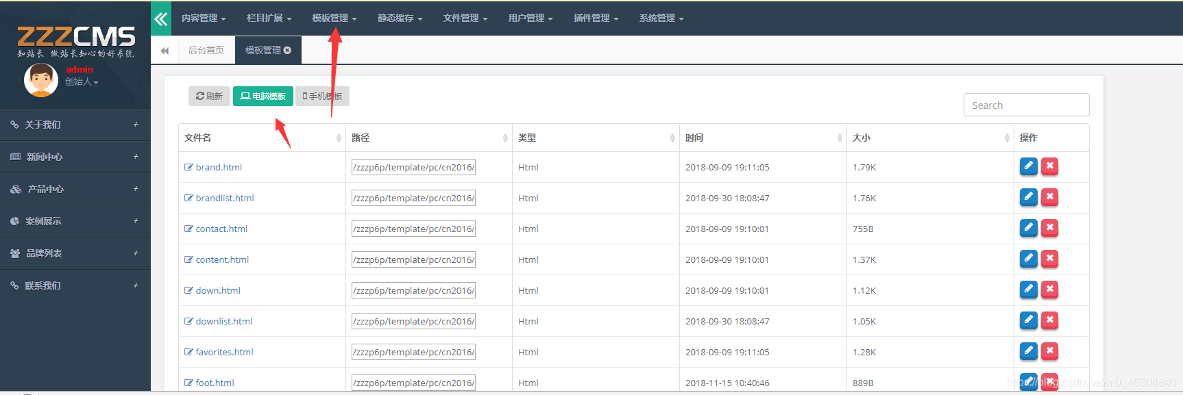
既然 \admin\save.php 调用了我们这个,不妨看看后台那里有模板操作这个

当然完全你也可以回溯代码去分析,但是既然有源码能看就看。

随便找个文件放入我们遵循他正则的代码即可,不过一般我们测试的过程中,尽量选择对目标影响小的文件。
payload:
{if:assert(phpinfo())}x{end if}
响小的文件。
payload:
{if:assert(phpinfo())}x{end if}
于此同类的还有苹果cms8.x,都是在解析标签过程中出现的问题,一般看到可以自定义解析标签那么就值得注意,命令执行与此类似,这里就不说了。